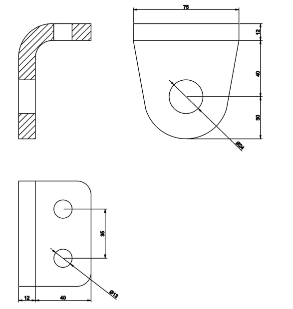
Witam, postanowiłem podczepić mój post do tematu, do pracy nad solidnymi zaczepami z przodu skłoniła mnie wizja wyjazdu na rajd do Bornego Sulinowa Zakończenie Sezonu 2018 gdzie spodziewałem się trudnych warunków, ale do rzeczy. Blachy o grubości 10mm zaprojektowałem w CAD-dzie, po wydruku 1:1 na papierze była przymiarka do samochodu, chodziło szczególnie o dokładne trafienie otworami w istniejące punkty mocowania zderzaka i oryginalnego kangura, po małych poprawkach projekt był OK,

poszedł do palenia na laserze i gięcia, blacha jest przegięta o 10mm żeby zachować równoległość do ramy, po wypaleniu wygląda to tak:

razem z zaczepami postanowiłem dopasować rurowy kangur z Kia Sportage I , bo po prostu podoba mi się kształt i chociaż wiem, że wielu z Was powie iż to zbędny balast i przeszkadza w terenie postanowiłem go dopasować i zamontować. Trochę cięcia i spawania plus wypalone na laserze mocowania w miejsce mocowań oryginalnego kangura , ale z otworem na szeklę 4,75T i gotowe.

Do zamontowania blach użyłem śrub 10.9, dwie sztuki M12 w oryginalne mocowania zderzaka, dwie sztuki M10 przy mocowaniu kangura, po lewej stronie dwie śruby M12 poprowadzone przez istniejące tulejki w ramie lekko rozwiercone na fi 12,5 ,z prawej strony analogicznie tylko wykorzystana jedna dolna tulejka rozwiercona na fi 12,5 spina blachę i element przekładni kierowniczej i jeden otwór dowiercony w blasze docelowo też będzie przewiercony plus tulejka przez ramę. Śrub użyłem z niepełnym gwintem ,ponieważ wytrzymałość na ścinanie trzpienia śruby jest znacznie większa niż rdzenia, wygląda to tak już po testach w Bornym


Całość na samochodzie wygląda tak

Zamierzony efekt wg mnie został uzyskany, uchwyty są solidne, zastrzał poprowadzony w kierunku stabilizatora gasi moment gnący występujący przy ramie szarpiąc tylko za ucho oryginalnego uchwytu, całość nie rzuca się nadmiernie w oczy, a pomiędzy dopasowaną kangurką a uchwytem jest dość miejsca na podpięcie szekli omega 4,75T, dodatkowo dolna rura kangurki spina oba uchwyty ograniczając możliwość jego wygięcia podczas nie osiowego szarpania. Ufff to już koniec moich wypocin, jeśli ktoś będzie miał ochotę na zastosowanie takich zaczepów to udostępnię rysunek w dwg do palenia, wynikowo były dowiercone otwory przy stabilizatorze i wykonane jedno skośne podcięcie z lewej strony omijające jedną ze śrub elementu przekładni kierowniczej. Reasumując kangurka ogranicza kąt natarcie/zejścia ale uchroniła mój zderzak przed roztrzaskaniem na kawałki, oparłem się rurą i nic się nie stało

Oczywiście mam świadomość ,że ile głów tyle pomysłów na zaczepy, ale może komuś się to przyda. Pozdrawiam